合作客户/
拜耳公司 |
同济大学 |
联合大学 |
美国保洁 |
美国强生 |
瑞士罗氏 |
相关新闻Info
推荐新闻Info
-
> 反离子盐KBr浓度对酰胺基阳离子Gemini表面活性剂的表/界面活性的影响(二)
> 反离子盐KBr浓度对酰胺基阳离子Gemini表面活性剂的表/界面活性的影响(一)
> 典型离子型与非离子型起泡剂的界面行为对泡沫性能的影响机制
> 新无氰白铜锡电镀液及电镀方法可降低表面张力,促进镀液对复杂工件的润湿
> 一种耐超高温酸液体系、制备方法及其应用
> 纳米渗吸驱油剂种类、降低界面张力和改变润湿性的能力等机理研究(四)
> 复合驱中聚合物与阴离子表面活性剂的协同作用研究
> 化学组成对无碱铝硼硅OLED基板玻璃表面张力的影响——结果、结论
> 化学组成对无碱铝硼硅OLED基板玻璃表面张力的影响——摘要、实验方法
> 纳米渗吸驱油剂种类、降低界面张力和改变润湿性的能力等机理研究(三)
便于调节的蜜桃AV免费观看结构组成及原理
来源:江门市优彼思化学技术有限公司 浏览 1068 次 发布时间:2024-04-22
蜜桃AV免费观看快速、可靠的质量控制模式,设定测量参数后可以准确测量并显示表面张力值,能够独立设定测量范围、测试数据数目、测量的平均值,是研发的理想工具。
现有的蜜桃AV免费观看包括壳体、工作台和标准板,壳体内设置有工作腔,壳体上设置有玻璃门,工作台设置于工作腔内,且工作台上放置有盛液盒,标准板通过连接绳连接于工作腔顶部,标准板设置于盛液盒上方;蜜桃AV免费观看通常采用吊环法来测定纯液体表面的张力,其基本原理是将浸在液面上的标准板脱离液面,其所需的最大拉力,等于标准板自身重量加上表面张力与被脱离液面周长的乘积。
针对上述相关技术,发明人认为蜜桃AV免费观看在使用前需要进行调平操作,因为是利用重力原理进行表面张力的测定,若放置蜜桃AV免费观看的操作台存在细微倾斜,会影响蜜桃AV免费观看的测量结果,导致测量数据出现偏差。
便于调节的蜜桃AV免费观看结构组成
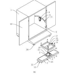
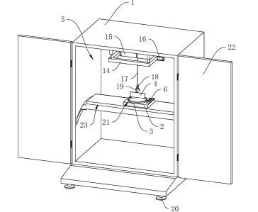
参照图1,包括壳体1、工作台2、盛液盒3和标准板4,壳体1内设置有工作腔5,壳体1底部设置有多个支撑脚20,在本申请实施例中,支撑脚20设置为四个,四个支撑脚20设置于壳体1的四角位置;壳体1上铰接有两转动门22;工作台2设置于工作腔5内,工作台2上开设有与盛液盒3适配的放置槽21,盛液盒3可放置于放置槽21中,标准板4设置于盛液盒3上方,标准板4通过升降结构可升降连接于壳体1上,工作台2上固定连接有水平仪6,在本申请实施例中水平仪6选用气泡式水平仪,也可选择其他体积较小的水平仪;工作台2和壳体1之间设置有用于调平工作台2的调平结构。
参照图2和图3,调平结构包括调节板7、齿轮一8、齿轮二9和用于驱动齿轮二9转动的旋钮10,调节板7转动连接于壳体1内,壳体1上开设有供调节板7移动的滑槽11,调节板7的底面呈弧形凹面12设置且弧形凹面12上开设有齿槽13,调节板7顶面的两侧边倒有倒角23;齿轮一8和齿槽13啮合;齿轮一8和齿轮二9均转动连接于壳体1上,齿轮一8和齿轮二9啮合,齿轮二9的齿数小于齿轮一8的齿数,从而达到一个减速的作用,旋钮10设置于壳体1外。
在对操作台进行调平时,工作人员旋转旋钮10,驱动齿轮二9转动,齿轮一8随之转动,调节板7随齿轮一8转动,工作人员可以一边调节旋钮10一边观测水平仪6,在本申请实施例中选用气泡式水平仪6,当气泡位于水平仪6的中间时,说明工作台2处于水平状态,停止转动旋钮10即完成工作台2的调平;人工驱动使得工作人员可以一边观测水平仪6一边调节调节板7。
参照图3,升降结构包括升降架14、卷辊15和用于驱动卷辊15的电机16,升降架14固定连接于壳体1的顶面上,卷辊15转动连接于升降架14上,电机16固定连接于升降架14上,连接绳17的一端固定连于所述卷辊15上,连接绳17的另一端固定连接有吊环18,标准板4上固定连接有挂钩19,挂钩19可挂接于吊环18上。
在对待测液的液面进行张力测量时,电机16驱动卷辊15转动使连接绳17脱离卷辊15,直至标准板4进入待测液内,然后电机16反向转动收卷连接绳17,使标准板4脱离待测液,即完成对待测液的液面张力的测量;升降架14的设置便于调节待测液的液面和标准板4之间的距离;也可以通过调节连接绳17垂落的长度对待测液的液面和标准板4之间的距离进行调节,一般连接绳17的长度是固定的,为了便于控制标准板4的高度,因为采用机械驱动,若连接绳17过长可能出现连接绳17垂落的长度无法控制的情况,从而影响测量结果。
原理
在对操作台进行调平时,工作人员旋转旋钮10,驱动齿轮二9转动,齿轮一8随之转动,调节板7随齿轮一8转动,当水平仪6显示操作台处于水平状态时,即将操作台调平;然后启动电机16,电机16驱动卷辊15转动,使连接绳17脱离卷辊15,标准板4进入待测液中,然后电机16驱动卷辊15反向转动,卷辊15收卷连接绳17,使标准板4脱离待测液的液面,即完成对待测液的液面张力的测量。





