合作客户/
拜耳公司 |
同济大学 |
联合大学 |
美国保洁 |
美国强生 |
瑞士罗氏 |
相关新闻Info
推荐新闻Info
-
> 反离子盐KBr浓度对酰胺基阳离子Gemini表面活性剂的表/界面活性的影响(二)
> 反离子盐KBr浓度对酰胺基阳离子Gemini表面活性剂的表/界面活性的影响(一)
> 典型离子型与非离子型起泡剂的界面行为对泡沫性能的影响机制
> 新无氰白铜锡电镀液及电镀方法可降低表面张力,促进镀液对复杂工件的润湿
> 一种耐超高温酸液体系、制备方法及其应用
> 纳米渗吸驱油剂种类、降低界面张力和改变润湿性的能力等机理研究(四)
> 复合驱中聚合物与阴离子表面活性剂的协同作用研究
> 化学组成对无碱铝硼硅OLED基板玻璃表面张力的影响——结果、结论
> 化学组成对无碱铝硼硅OLED基板玻璃表面张力的影响——摘要、实验方法
> 纳米渗吸驱油剂种类、降低界面张力和改变润湿性的能力等机理研究(三)
悬滴法测量液体表面张力系数的测量装置结构组成
来源:南京航空航天大学 浏览 1157 次 发布时间:2024-11-20
基于悬滴法测量液体表面张力系数的测量装置,该测量装置包括注射器调节组件,注射器调节组件包括固定座、滑动座、第二丝杆、第三丝杆、以及第二螺母件;
基于悬滴法测量液体表面张力系数的基本原理为:当液滴被静止悬挂在毛细管的管口处时,液滴的外形主要取决于其重力和表面张力的平衡,通过对液滴外形的测定,能够推算出液体的表面张力系数。
现有的基于悬滴法测量液体表面张力系数的测量装置,在使用该测量装置实际测量液体表面张力系数的过程中,注射器的针管、摄像机、以及待测量液滴三者必须满足如下条件:(1)注射器的针管的下端面垂直于待测量液滴的重力方向;(2)用于采集液滴轮廓的摄像机正对液滴轮廓的子午面;(3)待测量液滴具有适当的尺寸。
然而,现有的测量装置中,注射器、摄像机、以及光源都是预先固定设置的,在实际测量过程中,使用者无法根据实际需要对注射器进行微调。因此,现有的测量装置在实际应用中(例如物理实验教学、科学研究等应用场景)受到明显的限制,难以满足实际应用的需求。
如何提供一种新型的基于悬滴法测量液体表面张力系数的测量装置,在实际测量过程中,使用者能够根据实际需要对该测量装置的注射器进行微调,这已经成为本领域技术人员亟待解决的技术问题。
本发明要解决的技术问题是提供一种基于悬滴法测量液体表面张力系数的测量装置,在实际测量过程中,使用者能够根据实际需要对该测量装置的注射器进行微调。
图1为基于悬滴法测量液体表面张力系数的测量装置的立体结构示意图;
图2为基于悬滴法测量液体表面张力系数的测量装置的爆炸示意图;
图3为基于悬滴法测量液体表面张力系数的测量装置的剖面示意图;
图4为基于悬滴法测量液体表面张力系数的测量装置的基座组件部分的爆炸示意图;
图5为基于悬滴法测量液体表面张力系数的测量装置的平移组件、导轨组件、以及门形组件部分的爆炸示意图;
图6为基于悬滴法测量液体表面张力系数的测量装置的窗形组件部分的爆炸示意图;
图7为基于悬滴法测量液体表面张力系数的测量装置的第一窗形件和第二窗形件的立体示意图;
图8为基于悬滴法测量液体表面张力系数的测量装置的第三窗形件的立体示意图;
图9为基于悬滴法测量液体表面张力系数的测量装置的注射器调节组件和注射器相对于第三窗形件的安装关系的立体示意图;
图10为基于悬滴法测量液体表面张力系数的测量装置的注射器调节组件和注射器的立体示意图之一;
图11为基于悬滴法测量液体表面张力系数的测量装置的注射器调节组件和注射器的立体示意图之二;
图12为基于悬滴法测量液体表面张力系数的测量装置的注射器调节组件的固定座的立体示意图;
图13为基于悬滴法测量液体表面张力系数的测量装置的注射器调节组件的滑动座的立体示意图;
图14为基于悬滴法测量液体表面张力系数的测量装置的注射器调节组件的爆炸示意图;
图15为基于悬滴法测量液体表面张力系数的测量装置的注射器调节组件的局部立体示意图。
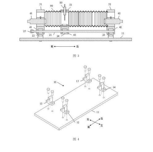
如图1、图2和图3所示,本实施例提供一种基于悬滴法测量液体表面张力系数的测量装置,该测量装置包括基座组件10、平移组件20、导轨组件30、门形组件40、窗形组件50、光学组件60、注射器调节组件70、注射器80、以及遮光罩90。光学组件60包括摄像机61和光源62。
如图4所示,基座组件10包括基板11和四个相同的连接件,该四个连接件为第一连接件12、第二连接件13、第三连接件14、以及第四连接件15。基板11为长方形的板体。四个连接件都呈倒置的T字型,其中每一个连接件包括一个横部和一个竖部。四个连接件都设置于基板11的上表面,四个连接件的横部都与基板11固定连接(本实施例中采用例如螺栓实现四个连接件的横部与基板11固定连接),并且四个连接件的竖部均沿着竖直方向向上延伸。
如图5所示,平移组件20包括第一丝杆21、第一轴承22、第二轴承23、第一螺母件24、以及第一手调旋钮25。第一丝杆21沿前后方向设置,第一轴承22和第二轴承23分别套设于第一丝杆21的两端,使得第一丝杆21能够相对于第一轴承22和第二轴承23转动;第一螺母件24套设于第一丝杆21上,第一螺母件24的内螺纹能够与第一丝杆21的外螺纹相互啮合,并且沿着第一丝杆21的延伸方向,第一螺母件24位于第一轴承22和第二轴承23之间。第一手调旋钮25设置于第一丝杆21的前端,第一手调旋钮25位于第一轴承22的前侧,当使用者手动旋转第一手调旋钮25时,第一手调旋钮25能够带动第一丝杆21转动。
如图5所示,导轨组件30包括第一导杆31和第二导杆32,第一导杆31与第二导杆32相同,并且第一导杆31和第二导杆32均呈圆柱体形。第一导杆31的两端分别固定于第一连接件12和第三连接件14上;第二导杆32的两端分别固定于第二连接件13和第四连接件15上;第一导杆31和第二导杆32分别设置于第一丝杆21的两侧(图中所示为第一导杆31位于第一丝杆21的左侧,第二导杆32位于第一丝杆21的右侧),第一导杆31、第二导杆32和第一丝杆21三者位于同一个水平内,并且第一导杆31、第二导杆32和第一丝杆21三者相互平行。在本实施例中,第一连接件12、第二连接件13、第三连接件14、以及第四连接件15中每一者的竖部的上端设置有一个沿前后方向延伸的通孔,第一导杆31的两端分别固定设置于第一连接件12和第三连接件14的竖部上端的通孔内,第二导杆32的两端分别固定设置于第二连接件13和第四连接件15的竖部上端的通孔内。
如图5所示,门形组件40包括三个相同的门形件,该三个门形件为第一门形件41、第二门形件42、以及第三门形件43。三个门形件的截面都呈门字型(即倒置的U字型),并且三个门形件的开口端都朝下。第一门形件41的左端设置有第一左通孔41-1,第一门形件41的右端设置有第一右通孔41-2,第一门形件41的中间设置有第一中间通孔41-3,第一左通孔41-1、第一右通孔41-2和第一中间通孔41-3均为贯穿第一门形件41的两个竖壁的通孔;第二门形件42的左端设置有第二左通孔42-1,第二门形件42的右端设置有第二右通孔42-2,第二门形件42的中间设置有第二中间通孔42-3,第二左通孔42-1、第二右通孔42-2和第二中间通孔42-3均为贯穿第二门形件42的两个竖壁的通孔;第三门形件43的左端设置有第三左通孔43-1,第三门形件43的右端设置有第三右通孔43-2,第三门形件43的中间设置有第三中间通孔43-3,第三左通孔43-1、第三右通孔43-2和第三中间通孔43-3均为贯穿第三门形件43的两个竖壁的通孔。
第一门形件41罩设于第一连接件12和第二连接件13的上方,并且第一连接件12和第二连接件13的竖部均从第一门形件41的开口端到伸入到第一门形件41的内部空腔中,第一连接件12和第二连接件13的竖部的上端均与第一门形件41的封闭端固定连接;第二门形件42罩设于第三连接件14和第四连接件15的上方,并且第三连接件14和第四连接件15的竖部均从第二门形件42的开口端到伸入到第二门形件42的内部空腔中,第三连接件14和第四连接件15的竖部的上端均与第二门形件42的封闭端固定连接。
第一导杆31从前往后依次穿过第一左通孔41-1、第三左通孔43-1、以及第二左通孔42-1,第一导杆31的前端与第一左通孔41-1固定连接,第一导杆31的后端与第二左通孔42-1固定连接;第二导杆32从前往后依次穿过第一右通孔41-2、第三右通孔43-2、以及第二右通孔42-2,第二导杆32的前端与第一右通孔41-2固定连接,第二导杆32的后端与第二右通孔42-2固定连接。第一丝杆21从前往后依次穿过第一中间通孔41-3、第三中间通孔43-3、以及第二中间通孔42-3。
第一门形件41、第二门形件42、以及第三门形件43三者都沿左右方向设置且三者相互平行,并且第一门形件41、第二门形件42、以及第三门形件43三者都与第一丝杆21相垂直;沿着前后方向,第三门形件43位于第一门形件41与第二门形件42之间。
第一轴承22固定设置于第一门形件41的内部空腔内,并且沿着左右方向,第一轴承22位于第一门形件41的中间位置;第二轴承23固定设置于第二门形件42的内部空腔内,并且沿着左右方向,第二轴承23位于第二门形件42的中间位置;第一螺母件24固定设置于第三门形件43的内部空腔内,并且沿着左右方向,第一螺母件24位于第三门形件43的中间位置。在本实施例中,第一轴承22的上端面与第一门形件41的封闭端的下表面相互贴合且二者固定连接;第二轴承23的上端面与第二门形件42的封闭端的下表面相互贴合且二者固定连接;第一螺母件24的上端面与第三门形件43的封闭端的下表面相互贴合且二者固定连接。
如图6所示,窗形组件50包括第一窗形件51、第二窗形件52、以及第三窗形件53,其中第一窗形件51和第二窗形件52相同。第一窗形件51、第二窗形件52、以及第三窗形件53三者都整体呈长方体形。第一窗形件51包括第一边框部51-1和第一凸起部51-2,第二窗形件52包括第二边框部52-1和第二凸起部52-2,第三窗形件53包括第三边框部53-1,第一边框部51-1、第二边框部52-1和第三边框部53-1中的每一者为由上、下、左、右四个边框固定连接而成的闭合的、环形的框体结构。第一凸起部51-2固定设置于第一窗形件51的第一边框部51-1的下边框的上表面且相对于该下边框向上突出(即向内突出),第一凸起部51-2上设置有沿前后方向延伸且贯穿第一凸起部51-2的第一通孔51-3;第二凸起部52-2固定设置于第二窗形件52的第二边框部52-1的下边框的上表面且相对于该下边框向上突出(即向内突出),第二凸起部52-2上设置有沿前后方向延伸且贯穿第二凸起部52-2的第二通孔52-3。
第一窗形件51的第一边框部51-1的下边框的下表面与第一门形件41的封闭端的上表面相互贴合且二者固定连接;第二窗形件52的第二边框部52-1的下边框的下表面与第二门形件42的封闭端的上表面相互贴合且二者固定连接;第三窗形件53的第三边框部53-1的下边框的下表面与第三门形件43的封闭端的上表面相互贴合且二者固定连接。
如图2、图3和图7所示,摄像机61固定设置于第一窗形件51的第一凸起部51-2的第一通孔51-3内,光源62固定设置于第二窗形件52的第二凸起部52-2的第二通孔52-3内,并且摄像机61的中心轴线与光源62的中心轴线位于同一条直线上,使得摄像机61能够接收到光源62发射的光线。
如图8所示,第三窗形件53的第三边框部53-1的下边框上设置有一个例如长方形的凹坑53-2,并且沿左右方向凹坑53-2位于第三边框部53-1的中间位置,凹坑53-2内设置有一个积液盆53-3。第三窗形件53的第三边框部53-1的上边框上设置有一个例如圆形的第三通孔53-4,第三通孔53-4沿竖直方向延伸,并且第三通孔53-4位于凹坑53-2的正上方;注射器80包括主体管80-1和固定设置于主体管80-1下端面的针管80-2,主体管80-1和针管80-2均为内部中空的圆形管,并且针管80-2的直径小于主体管80-1的直径,针管80-2与主体管80-1的内部空腔相连通;注射器80的主体管80-1固定设置于第三通孔53-4内,并且针管80-2的末端刚好与摄像机61的中心轴线(即光源62的中心轴线)相交。在本实施例中,第三窗形件53的第三边框部53-1的上边框的侧面设置有一个沿前后方向延伸的第一螺纹孔53-5,并且第一螺纹孔53-5与第三通孔53-4相连通;螺栓53-6设置于第一螺纹孔53-5内,螺栓53-6的外螺纹能够与第一螺纹孔53-5相啮合,并且螺栓53-6的里端能够与注射器80的主体管80-1外壁相抵接,从而使得注射器80的主体管80-1固定设置于第三通孔53-4内。
如图1、图2和图3所示,遮光罩90为内部中空的筒体,遮光罩90整体呈长方体形,并且遮光罩90的形状和尺寸均与第一窗形件51(或第二窗形件52或第三窗形件53)相匹配。遮光罩90设置于摄像机61和光源62的外围,遮光罩90将摄像机61和光源62包裹于遮光罩90的内部空腔内,避免遮光罩90之外的光线与其内部空腔内的光线相互干扰。
遮光罩90的前端与第一窗形件51的第一边框部51-1的后侧面固定连接,遮光罩90的后端与第二窗形件52的第二边框部52-1的前侧面固定连接。具体地,遮光罩90的上壁板的前端与第一窗形件51的第一边框部51-1的上边框的后侧面固定连接,遮光罩90的上壁板的后端与第二窗形件52的第二边框部52-1的上边框的前侧面固定连接;遮光罩90的下壁板的前端与第一窗形件51的第一边框部51-1的下边框的后侧面固定连接,遮光罩90的下壁板的后端与第二窗形件52的第二边框部52-1的下边框的前侧面固定连接;遮光罩90的左壁板的前端与第一窗形件51的第一边框部51-1的左边框的后侧面固定连接,遮光罩90的左壁板的后端与第二窗形件52的第二边框部52-1的左边框的前侧面固定连接;遮光罩90的右壁板的前端与第一窗形件51的第一边框部51-1的右边框的后侧面固定连接,遮光罩90的右壁板的后端与第二窗形件52的第二边框部52-1的右边框的前侧面固定连接。
第三窗形件53将遮光罩90分为前半段和后半段;遮光罩90的前半段的前端与第一窗形件51的第一边框部51-1的后侧面固定连接,遮光罩90的前半段的后端与第三窗形件53的第三边框部53-1的前侧面固定连接;遮光罩90的后半段的前端与第三窗形件53的第三边框部53-1的后侧面固定连接,遮光罩90的后半段的后端与第二窗形件52的第二边框部52-1的前侧面固定连接。具体地,遮光罩90的上壁板的前半段的后端与第三窗形件53的第三边框部53-1的上边框的前侧面固定连接,遮光罩90的上壁板的后半段的前端与第三窗形件53的第三边框部53-1的上边框的后侧面固定连接;遮光罩90的下壁板的前半段的后端与第三窗形件53的第三边框部53-1的下边框的前侧面固定连接,遮光罩90的下壁板的后半段的前端与第三窗形件53的第三边框部53-1的下边框的后侧面固定连接;遮光罩90的左壁板的前半段的后端与第三窗形件53的第三边框部53-1的左边框的前侧面固定连接,遮光罩90的左壁板的后半段的前端与第三窗形件53的第三边框部53-1的左边框的后侧面固定连接;遮光罩90的右壁板的前半段的后端与第三窗形件53的第三边框部53-1的右边框的前侧面固定连接,遮光罩90的右壁板的后半段的前端与第三窗形件53的第三边框部53-1的右边框的后侧面固定连接。
遮光罩90的上壁板、下壁板、左壁板和右壁板都为可伸缩的波纹板,使得当第三窗形件53沿着第一丝杆21前后移动时,遮光罩90能够随着第三窗形件53伸长或者缩短。
在本实施例的一种优选实施方式中,遮光罩90的前端面和后端面均为封闭面,遮光罩90的前端面和后端面由遮光材料制成,以防止光线透射通过。
如图9所示,注射器调节组件70固定设置于第三窗形件53的内部空腔内。
如图10和图11所示,注射器调节组件70包括固定座71、滑动座72、第二丝杆73、第三丝杆74、以及第二螺母件75。
如图12所示,固定座71整体呈L形,固定座71包括座体部71-1和背体部71-2,座体部71-1和背体部71-2均整体呈长方形,座体部71-1为闭合的环状框体结构且位于水平面内,背体部71-2为U形框体结构且位于竖直面内,背体部71-2的下端与座体部71-1的后边框固定连接使得二者整体呈L形,并且背体部71-2与座体部71-1的后边框形成一个闭合的环状框体结构。座体部71-1的左边框包括上下设置的两根棱柱,该两根棱柱相互平行且二者之间设置有第一方孔71-3;座体部71-1的右边框包括上下设置的两根棱柱,该两根棱柱相互平行且二者之间设置有第二方孔71-4;第一方孔71-3和第二方孔71-4均沿前后方向延伸。座体部71-1的左边框的左侧面(即外侧面)上固定设置有第一延伸板71-5和第二延伸板71-6,并且第一延伸板71-5和第二延伸板71-6分别位于座体部71-1的左边框的前后两端,第一延伸板71-5上设置有沿前后方向延伸的通孔71-7,第二延伸板71-6上设置有沿前后方向延伸的通孔71-8。
如图13所示,滑动座72包括第一U形板72-1、第二U形板72-2、盖形板72-3、第一尾板72-4、以及第二尾板72-5。第一U形板72-1和第二U形板72-2的开口端都与盖形板72-3的左侧面(即里侧面)固定连接,并且第一U形板72-1和第二U形板72-2均与盖形板72-3相垂直,其中盖形板72-3沿竖直方向延伸且盖形板72-3上设置有通孔72-8,第一U形板72-1和第二U形板72-2均沿水平方向延伸;第一U形板72-1位于第二U形板72-2的上方,第一U形板72-1与第二U形板72-2相互平行且二者之间设置有一个缝隙72-9。在本实施例中,第一U形板72-1与第二U形板72-2相同。
第一U形板72-1和第二U形板72-2的左端面(即外端面)上固定设置有第一尾板72-4和第二尾板72-5;第一尾板72-4和第二尾板72-5均沿竖直方向延伸且二者相互平行,并且第一尾板72-4和第二尾板72-5所在的平面均与第一U形板72-1(或第二U形板72-2)所在的平面相垂直,第一尾板72-4和第二尾板72-5所在的平面也均与盖形板72-3所在的平面相垂直;第一尾板72-4与第二尾板72-5相间设置,并且第一尾板72-4位于第二尾板72-5的前方;第一尾板72-4上设置有沿前后方向延伸的第二螺纹孔72-6,第二尾板72-5上设置有沿前后方向延伸的第三螺纹孔72-7,第二螺纹孔72-6和第三螺纹孔72-7的内壁上均设置有内螺纹,并且第二螺纹孔72-6的中心轴线与第三螺纹孔72-7的中心轴线位于同一条直线上。
如图14所示,第二丝杆73包括第一主杆体部73-1、第二手调旋钮73-2和第一凸缘部73-3;第一主杆体部73-1呈圆柱体形,并且设置于第一主杆体部73-1外表面的外螺纹能够与第二螺纹孔72-6和第三螺纹孔72-7的内螺纹相啮合;第二手调旋钮73-2和第一凸缘部73-3分别固定设置于第一主杆体部73-1的两端。第三丝杆74包括第二主杆体部74-1、第三手调旋钮74-2和第二凸缘部74-3;第二主杆体部74-1呈圆柱体形且其外表面设置有外螺纹;第三手调旋钮74-2和第二凸缘部74-3分别固定设置于第二主杆体部74-1的两端。第二螺母件75包括螺母本体部75-1、第一翼板75-2和第二翼板75-3;第一翼板75-2和第二翼板75-3分别固定设置于螺母本体部75-1的两侧,并且第一翼板75-2和第二翼板75-3位于同一个平面内;第二翼板75-3的外边缘固定设置有一个相对于第二翼板75-3向外凸出的凸环75-4,凸环75-4上设置有一个例如圆形的通孔75-5;设置于螺母本体部75-1的内壁上的内螺纹能够与第三丝杆74的第二主杆体部74-1的外螺纹相啮合。
如图15所示,滑动座72沿左右方向设置,第三丝杆74设置于滑动座72的内部空腔内;第三丝杆74的第二主杆体部74-1位于第一U形板72-1、第二U形板72-2和盖形板72-3围成的框体结构内;第二主杆体部74-1的右端(即与第三手调旋钮74-2连接的一端)穿入盖形板72-3的通孔72-8内,并且第三手调旋钮74-2位于盖形板72-3的右侧(即盖形板72-3的背向第一U形板72-1和第二U形板72-2的一侧面);第二凸缘部74-3设置于第一U形板72-1和第二U形板72-2的封闭端的左侧(即外侧),并且第二凸缘部74-3位于第一尾板72-4与第二尾板72-5之间,第三手调旋钮74-2和第二凸缘部74-3均对第三丝杆74起限位作用。第二螺母件75套设于第三丝杆74上,第二螺母件75的螺母本体部75-1的内螺纹与第三丝杆74的第二主杆体部74-1的外螺纹相啮合;第一翼板75-2和第二翼板75-3均设置于第一U形板72-1与第二U形板72-2之间的缝隙72-9内,第一翼板75-2在缝隙72-9内向前延伸,第二翼板75-3在缝隙72-9内向后延伸,并且第二翼板75-3外边缘的凸环75-4伸出到第一U形板72-1和第二U形板72-2的后侧。
如图10、图11和图14所示,滑动座72活动设置于固定座71上。滑动座72的第一U形板72-1和第二U形板72-2的左端均穿入固定座71的左边框的第一方孔71-3内,第一U形板72-1和第二U形板72-2的右端均穿入固定座71的右边框的第二方孔71-4内;盖形板72-3的左侧面与固定座71的右边框的右侧面相抵接,使得盖形板72-3对滑动座72起限位作用;第一尾板72-4和第二尾板72-5的右端面均与固定座71的左边框的左侧面相抵接,使得第一尾板72-4和第二尾板72-5对滑动座72起限位作用,并且第一尾板72-4和第二尾板72-5均位于第一延伸板71-5与第二延伸板71-6之间。
第二丝杆73沿前后方向设置;第二丝杆73的第一主杆体部73-1从前往后依次穿入第一延伸板71-5的通孔71-7、第二螺纹孔72-6、第三螺纹孔72-7、以及第二延伸板71-6的通孔71-8内;第二手调旋钮73-2位于第一延伸板71-5的前侧,第一凸缘部73-3位于第二延伸板71-6的后侧,第二手调旋钮73-2和第一凸缘部73-3均对第二丝杆73起限位作用;设置于第一主杆体部73-1外表面的外螺纹与第二螺纹孔72-6和第三螺纹孔72-7的内螺纹相啮合。
如图9所示,本实施例中,固定座71的背体部71-2的上端与第三窗形件53的第三边框部53-1的上边框固定连接,例如,固定座71的背体部71-2的上端面与第三窗形件53的第三边框部53-1的上边框的下表面相互贴合且二者相互粘接。注射器80的针管80-2穿入第二螺母件75的第二翼板75-3外边缘的凸环75-4的通孔75-5内。
使用时,使用者通过第二手调旋钮73-2旋转第二丝杆73的第一主杆体部73-1,第一主杆体部73-1转动使得第一尾板72-4和第二尾板72-5沿前后方向移动;第一尾板72-4和第二尾板72-5进而带动第一U形板72-1和第二U形板72-2沿着固定座71的第一方孔71-3和第二方孔71-4移动,从而实现滑动座72的前后移动;滑动座72再经由第三丝杆74和第二螺母件75带动注射器80的针管80-2前后摆动,从而实现对注射器80的针管80-2末端的沿前后方向的微调。使用者通过第三手调旋钮74-2旋转第三丝杆74的第二主杆体部74-1,第二主杆体部74-1转动使得第二螺母件75的螺母本体部75-1沿左右方向移动;螺母本体部75-1进而带动第一翼板75-2和第二翼板75-3沿着第一U形板72-1与第二U形板72-2之间的缝隙72-9移动;第二翼板75-3再带动注射器80的针管80-2左右摆动,从而实现对注射器80的针管80-2末端的沿左右方向的微调。
使用时,使用者手动旋转第一手调旋钮25,第一手调旋钮25带动第一丝杆21转动,第一丝杆21转动使得第一螺母件24沿前后方向移动,第一螺母件24再经由第三门形件43和第三窗形件53带动注射器80沿前后方向移动,从而实现对注射器80的沿前后方向的粗调。





