合作客户/
拜耳公司 |
同济大学 |
联合大学 |
美国保洁 |
美国强生 |
瑞士罗氏 |
相关新闻Info
-
> 温度对甜菜碱短链氟碳表面活性剂表面张力、铺展、发泡性能影响(三)
> Na2CO3溶液与模拟油反应不同时间后产物的界面张力、剪切黏度(一)
> 水包油型(O/W)和油包水型(W/O)乳液结构与界面稳定性
> 不同浓度6∶2氟调磺酸的表面张力测定仪器及结果(二)
> 基于界面张力和表面张力测试评估商用UV油墨对不同承印纸张的表面浸润性差异(一)
> 表面活性剂在口服液体制剂中的应用
> 吡虫啉药液、 阿维菌素、苦参碱表面张力与接触角的关系
> 降低表面张力,可提高天然气水合物的生长速率
> C72-MPB氟醚磷酸胆碱表面活性剂表面张力、泡沫/润湿性能测定(一)
> 矿用尘克(C&C)系列除尘剂对大采高工作面截割煤尘的降尘效率影响(一)
推荐新闻Info
-
> 反离子盐KBr浓度对酰胺基阳离子Gemini表面活性剂的表/界面活性的影响(二)
> 反离子盐KBr浓度对酰胺基阳离子Gemini表面活性剂的表/界面活性的影响(一)
> 典型离子型与非离子型起泡剂的界面行为对泡沫性能的影响机制
> 新无氰白铜锡电镀液及电镀方法可降低表面张力,促进镀液对复杂工件的润湿
> 一种耐超高温酸液体系、制备方法及其应用
> 纳米渗吸驱油剂种类、降低界面张力和改变润湿性的能力等机理研究(四)
> 复合驱中聚合物与阴离子表面活性剂的协同作用研究
> 化学组成对无碱铝硼硅OLED基板玻璃表面张力的影响——结果、结论
> 化学组成对无碱铝硼硅OLED基板玻璃表面张力的影响——摘要、实验方法
> 纳米渗吸驱油剂种类、降低界面张力和改变润湿性的能力等机理研究(三)
表面张力对激光空泡脉动及溃灭特性的影响(一)
来源:中国激光 浏览 787 次 发布时间:2025-01-15
摘要采用两套光偏转测试装置对不同表面张力液体中激光空泡脉动及溃灭特性进行了实验研究,获得了液体表面张力改变对固壁近旁空泡生长和溃灭过程的影响。结果表明,表面张力延缓了空泡的膨胀过程,加速了空泡的溃灭;表面张力对空泡溃灭的影响要强于对膨胀的影响;液体张力越大,空泡脉动周期越短,且空泡对应的最大泡半径越小而收缩所能达到的最小泡半径亦越小。此外,液体张力越大,射流所产生的瞬时冲击力越大,即表面张力加强了液体射流对固壁的空蚀作用。研究结果可为水下激光加工、激光医疗、空化空蚀相关流体力学的研究提供一定的理论和实验支持。
1引言
空泡研究是目前流体力学最活跃的领域之一。当一束高功率激光聚焦于水下靶材表面时,在聚焦区形成高温高压等离子体、冲击波和空泡现象。空泡在内外压差的作用下进行多次脉动,最终溃灭。固壁附近空泡的溃灭和反弹不仅会造成水泵叶片表面、船舰和潜艇螺旋桨表面以及控制管道和腔室中液体流动的阀门(包括人工心脏的阀门)表面的空蚀损坏,降低水力机械的性能,而且所产生的空化噪声还会对军舰和潜艇的安全造成危害。医学中激光在人体组织中所产生的空泡溃灭时会对人体组织产生严重的裂损等不良影响,但结合有毒药物的使用也会起杀伤癌细胞等的治疗作用。此外,空泡溃灭时将形成局部的高压高温(可达1亿度),这可为核武器的研制和可控热核反应的研究提供一种新途径。随着科技的发展,不断有伴随空泡所发生的新的物理现象的发现,而弄清这些复杂物理现象的机制对流体力学科学的发展和实际应用都具有重要的意义。
空泡现象是高速运动的液体所特有的物理现象,它的初生与发展取决于许多复杂的因素,如液体的物性(包括蒸气压强、液体的表面张力大小、液体的密度、液体的压缩性等)、液体的流速、液体的温度等。张力是影响空泡膨胀(收缩)最后阶段的重要因素,它将直接决定空泡的泡半径、收缩周期和收缩的剧烈程度。目前,国内外很多学者对液体张力对空泡的影响进行了大量研究,但是研究主要集中在液体张力改变对射流和空蚀的影响。
在对空泡及空蚀效应的实验检测方面,文献报道的非扰动诊断方法主要有高速摄影法、条纹摄像法、干涉法及光束偏转法等。其中高速摄影法、干涉法和纹影法使空泡溃灭研究取得了很大进展,但存在造价昂贵、结构复杂等困难。本文采用两套基于光偏转原理的光纤传感器,利用光纤作为位置敏感探测器来提高光束偏折探测系统的灵敏度,对空泡的整个运动过程和溃灭对固壁面造成的空蚀作用进行全面的研究。
2实验方法
2.1实验装置
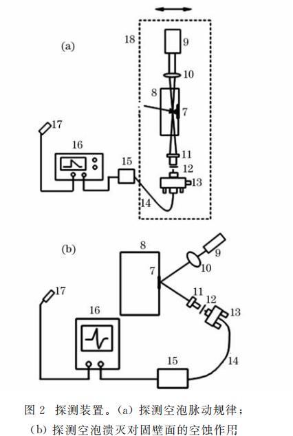
实验装置的主体部分如图1所示,脉冲Nd∶YAG激光1(波长1.06μm,脉宽10ns,最大激光能量500mJ)经过分光镜2,衰减片3和扩束装置4,由会聚透镜5(焦距150mm)聚焦于铜靶7上。水槽8里装有具有不同表面张力的液体。能量计6用来实时监测入射激光的能量。实验中靶面焦斑半径为50μm.
图1光偏转实验的主体装置
探测装置由两套基于光偏转原理的光纤传感器组成。该传感器由HeNe激光器9,聚焦透镜10,显微物镜11,干涉滤波片12,光纤调节器13,单模光纤14,光电倍增管15以及数字存储示波器16等构成,分别如图2(a)和(b)所示。图2(a)为探测空泡脉动特性的实验装置,其中探测组件9——14被固定在二维可移动平台18上,如图虚框所示,该平台沿靶面法线方向(图示箭头方向)移动精度为10μm.当一束高功率激光聚焦到水下靶材表面时,会在作用区产生等离子体、空泡和冲击波等一系列现象。
图2探测装置。(a)探测空泡脉动规律;(b)探测空泡溃灭对固壁面的空蚀作用
当探测光束通过靶面焦点正前方与空泡或冲击波相互作用时将产生微小的改变,原光束传播方向也将发生偏转,因此耦合进光纤传感器的光强将减小。由于光通量的变化体现为光电流或电压的变化,因此空泡泡半径的演变可以从数字存储示波器上的电压变化反映;图2(b)为探测空泡溃灭对固壁面空蚀作用的实验装置。在脉冲激光作用下,靶材作用点的背面将产生微小的锥形突起,因此光束反射时相对原有反射光路要偏转一定的角度。当探测光束照在因激光作用而形成凸起的锥形上,且光斑中心与锥心重合时,反射光束变为一环形光斑,耦合进光纤的光通量会变小。因光通量的变化体现为光电流或电压的变化,因此靶材所受力的变化可以从数字存储示波器上的电压变化来反映。该光纤传感器的相关测试原理分别见参考文献。本实验触发信号由光电二极管17(上升时间100ps)获取激光反射光来实现。





