合作客户/
拜耳公司 |
同济大学 |
联合大学 |
美国保洁 |
美国强生 |
瑞士罗氏 |
相关新闻Info
-
> 单片机智能控制的液体表面张力测量仪设计
> 蜜桃AV免费观看的测试范围以及测值精度的意义
> GA、WPI和T80复合乳液体系的脂肪消化动力学曲线、界面张力变化(一)
> 列举几个生活中表面张力现象【表面张力在工业生活中的应用】
> 多种表面活性剂复配可降低界面张力
> 表面张力和接触角对塑料熔体在微型通道内的流变行为的影响(一)
> 仲醇聚氧乙烯醚硫酸盐平衡和动态表面张力及应用性能研究(二)
> 磁化紫砂壶的磁化水表面张力系数VS普通水表面张力系数
> 表面张力对乙醇液滴冲击过冷水平壁面的铺展动力学行为的影响(三)
> 矿井瓦斯防治:表面活性剂溶液表面张力、泡沫特性及对甲烷缓释效应(三)
推荐新闻Info
-
> 反离子盐KBr浓度对酰胺基阳离子Gemini表面活性剂的表/界面活性的影响(二)
> 反离子盐KBr浓度对酰胺基阳离子Gemini表面活性剂的表/界面活性的影响(一)
> 典型离子型与非离子型起泡剂的界面行为对泡沫性能的影响机制
> 新无氰白铜锡电镀液及电镀方法可降低表面张力,促进镀液对复杂工件的润湿
> 一种耐超高温酸液体系、制备方法及其应用
> 纳米渗吸驱油剂种类、降低界面张力和改变润湿性的能力等机理研究(四)
> 复合驱中聚合物与阴离子表面活性剂的协同作用研究
> 化学组成对无碱铝硼硅OLED基板玻璃表面张力的影响——结果、结论
> 化学组成对无碱铝硼硅OLED基板玻璃表面张力的影响——摘要、实验方法
> 纳米渗吸驱油剂种类、降低界面张力和改变润湿性的能力等机理研究(三)
打破试剂溶液的表面张力,提升乳糖醇制备的搅拌混合效果
来源:山东健奕宏生物制药有限公司 浏览 1264 次 发布时间:2024-01-29
乳糖醇是12碳糖醇,可由乳糖经触媒氢化制得,有无水型和含有一个结合水的两种产品,甜味爽口,常与高甜度甜味剂结合使用,无后味,吸湿性低,溶解度高,其相对分子质量与蔗糖相似,对水分活度的影响也与蔗糖相似,在酸性及碱性条件下均稳定,在食品加工的高温条件下也十分稳定。乳糖醇适用于许多食品,例如烘焙食品、涂糖衣的糖果以及冷冻含乳甜食等。
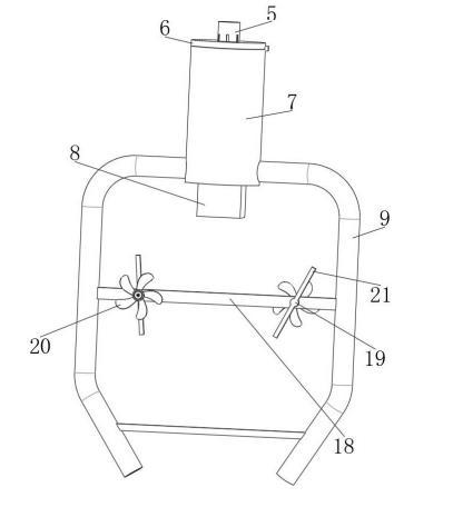
乳糖醇的制备工艺,主要工艺过程将乳糖配成溶液导入至筒体1内,调pH7.0~8.0,加入固形物质量5~10%的雷尼镍催化剂,经过2.0~3.0h的氢化反应后得到氢化液,氢化反应的最高温度125~140℃,经过活性炭脱色、满室床离子交换后得到净化液,再经过浓缩、结晶、离心和烘干后得到结晶乳糖醇。
现有的乳糖醇生产用净化装置(公开号:CN219356032U)至少有以下弊端:上述专利使混合组件在进行转动时可以进行上下往复滑动,使得混合组件可以对筒体内的乳糖溶液和雷尼镍催化剂进行充分的混合;由于单纯靠带动混合组件上下移动对试剂溶液进行搅拌,难以打破试剂溶液的表面张力,促进多种试剂的混合,影响乳糖醇制备的搅拌混合效果。
步骤一:通过进料管将试剂溶液注入混料桶内,通过驱动电机驱动传动轴转动,使传动轴通过连接组件带动连接盘与活塞筒转动,使活塞筒底端安装的两根出液管能够随之在混料桶内转动,使两根出液管与多根加强杆能够充当搅拌棒对试剂溶液进行混合搅拌;
步骤二:在连接盘带动活塞筒转动的同时,固定安装于连接盘外周的导柱将沿套管内侧开设的导槽滑动,使导柱能够通过连接盘带动活塞筒相对活塞垫上下移动做往复活塞运动,使活塞筒在向下移动时,其底部的进液口打开,混料桶内不同深度的试剂溶液被吸入活塞筒内,在活塞筒向上移动时,其底部的进液口关闭,相对固定位置的活塞垫将把活塞筒内吸入的试剂溶液通过两根出液管挤出,使两根出液管出液端排出的试剂溶液能够相互对冲碰撞;
步骤三:在两根出液管带动加强杆转动的同时将带动涡轮叶片转动,使转动的涡轮叶片能够通过转轴带动搅拌杆转动,使搅拌杆对混料桶内的试剂溶液进行横向搅拌混合,提高混合效果。
在连接盘带动活塞筒转动的同时,固定安装于连接盘外周的导柱将沿套管内侧开设的导槽滑动,使导柱能够通过连接盘带动活塞筒相对活塞垫上下移动做往复活塞运动,使活塞垫将活塞筒内吸入的试剂溶液通过两根出液管挤出,使两根出液管出液端排出的试剂溶液能够相互对冲碰撞,可以打破试剂溶液的表面张力,促进多种试剂的混合,减少局部浓度差异,提高混合均匀性,并且能够对混料桶内的试剂溶液进行搅动,能够有效的提高试剂溶液的混合效果;在活塞筒带动出液管转动的同时还能够上下移动,使出液管能够对混料桶内不同深度的试剂溶液进行均匀搅拌。





